Startseite

DEHN ITALIA S.P.A. - DEH202060 Dachleitungshalter - 202060

KopierenKopieren

Melden Sie sich an, um Preise und Verfügbarkeit anzuzeigen

Haupteigenschaften

  • Befestigungsart Leiter - mit Schraubschelle

  • Leiterdurchmesser - 6...10 mm

  • Montageart - schraubbar

  • Anwendung - Flachdach

  • Werkstoff des Halters - Stahl

Packung

  • 1 ST

EAN

4013364022263

Artikelnummer

DEH202060

Herstellernummer

202060

Hersteller

DEH

Befestigungsart Leiter:

mit Schraubschelle

Leiterdurchmesser:

6...10 mm

Montageart:

schraubbar

Anwendung:

Flachdach

Werkstoff des Halters:

Stahl

Werkstoff des Trägers:

Stahl

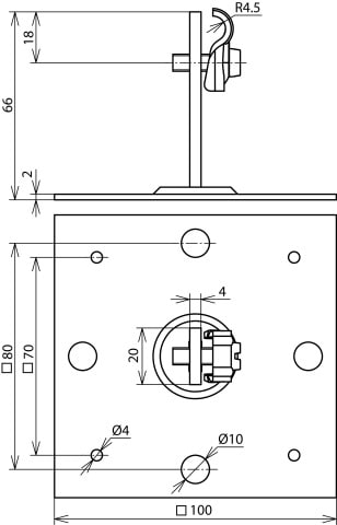
Länge des Trägers:

100 mm

Bauhöhe Leitungshalter:

60 mm

Staffa portafilo per tetti per la posa di captatori su tetti piani e pareti. Esecuzione Fe/tZn grande, con staffa portafilo DEHNQUICK, posa fissa del conduttore, altezza fino al centro del conduttore 60 mm.